Staby das Original: Europäisches Patent EP 1266676 B1

zurück zur vorherigen Seite

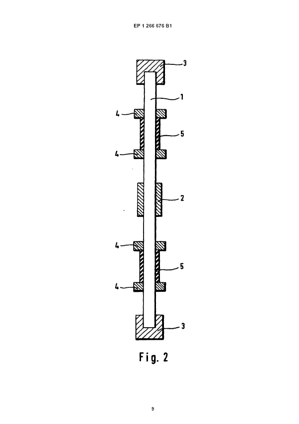
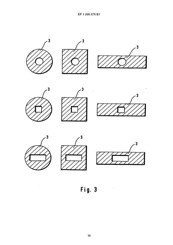
Verschiebbare Gewichte - Anpassbare Intensität Staby Patent Patent 1 Patent 2 Patent 3 Patent 4 Patent 5 Patent 6 Patent 7 Patent 8 Patent 9 Patent 10

zurück zur vorherigen Seite